
联系人:徐经理
电话:139 6412 8213
地址:济南市长清区大学科技园
网址:www.5devip.com
1、防辐射铅门对X线屏蔽的检验方法
测试条件:能量为10MV X线,剂量率为300R / min,加速器机架角度315度.照射野30 x 30 (cm) 2,测量地点:防护门外距地表1.3米处,
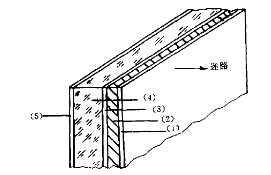
结构分层见下图:

(1) (5)铝合金板厚2*5mm,
(2)铅板厚l0mm,
(3)钢板厚2.5mm,
(4)石蜡厚一23.5mm,总厚
测量结果:距门10厘米处0.1 mR/h.距门1米处为0.05mR / h.
2、铅门对中子屏蔽的检验方法
测试仪器:采用两种测量仪器,
FJ-373型n-y辐射仪,单位为n(cm2)一S,不能分辨中子能谱。
芬兰制2202D型中子剂量仪,单位为毫雷姆/小时(mrcm/h),量程 0.1-10mrem/h.
测量中子通量密度
测量条件:能量10MV X线,剂量率300R / min,机架角度315度,照射野30 x30 (cm) 2,
测量地点:防护门内,外距地表1.3米处,距门表面1米处.
测量结果: 门内为700n / cm2·s
门外为18n / cm2·s
所以防护门对中子通量密度的衰减率为700/18=38.9.
测量中子剂量当量
测量条件:能量10MV X线.剂量率300R/min,照射野30 x 30 (cm) 2,机架采取各种角度以观测散射中子的剂量当量的变化.
测量地点:防护门内、外,距地表1.3米,距门表面10厘米处。结果如下:
机架0° 50° 90° 270° 310° 单位毫雷姆/小时
门内0.35 0.45 0.35 1.05 0.45 mrem/ h
门外<0.1 <0.1 <0.1 <0.1 <0.1 mrem / h
总结,铅防护门外最大辐射年剂量当量不应超过5rem,相当于平均周剂量当量为100mrem(每周按40小时计算)即每小时2.5mrem.防护门外约10厘米处实际测量小于0.1 mrem / h,显然符合防护要求.