
联系人:徐经理
电话:139 6412 8213
地址:济南市长清区大学科技园
网址:www.5devip.com
密码遥控电动免费羞羞网站(以下简称遥控门)是由密码遥控器(包括发射机和接收机)、主控电路、电力驱动装置、门体等组成。遥控铅门可以在10米内就能使门开启或关闭。操作时只需手持发射机发出密码控制信号,由安装在门体附近的接收机接收,并控制电动装置运转,驱使门体运动。遥控门适用范围广,如用于医院,汽车库,司机开车出入门均不需下车;用于金库等待殊场合,则密码更能显示其保安防护的优越性.由于遥控接收机置于人不易触及的部位,并且电动装置设于铅门背后,铅门的正面无门锁,所以门不易受到破坏而坡打开.为了防止外人接触门体,尚可安装触摸报警器,则防护性能更高。由于遥控门具有独特的优越性,国外发达国家已普遍推广使用。下面介绍遥控铅防护门的工作原理。
密码遥控器采用红外遥控技术和编译码技术,密码组数超过一百万种。
(1)密码发射电路
密码发射机原理框图和电路图分别如图1、图2所示。

编码振荡器决定编码的频率,通过编码器输出的密码信号去调制40kHZ的载波振荡器,输出幅移键控(ASK)的密码信号,驱动发光二极管LED发出红外密码遥控信号.
从图中可看出、密码摇控器与通用遥控器相比,增加了密码编码电路,IC1的1-10脚为编码端子,四态编码,编码端子的连接方式不同则构成不同的密码.编码输入有两种方式:①生产厂家固定了密码.用户可直接使用。②用拨码开关连接,厂家告诉用户密码编码方法,用户使用时可自行编号。前者适用于一般场合,使用方便,缺点是发射机与普通钥匙类似,任何人使用此发射机都能开、关门;后者专用于医院、金库等特殊场所.保密性高,但操作人员须熟记编制的密码号.操作较复杂,且体积略大。
(2)接收电路
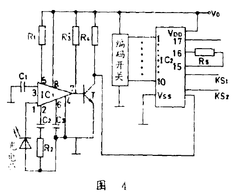
接收机原理框图和电路图分别如图3、图4所示。

红外密码遥控信号经光电变换和信号分路译码识别后,根据发射端信号的类型,分别由编码输出KS1或KS2输出有效脉冲。
当图4的编码端与图2中编码端接法一致.并且编码振荡器频率也相同时.接收机中译码电路IC2可以解出发射机中IC1的密码,即当按下发射按钮KF1时,编码输出KS1有脉冲信号输出,按下KF2时,KS2有脉冲信号输出.以实现密码遥控的功能。KS1经驱动器I控制门的运动方向(电机正、逆、空档),KS2经驱动器I控制门的运动或停止(电机转动或停止)。只有当继电器,I1. I3,或I2.I3吸合时,防辐射铅门才能动作。当门动作时,任意按动发射电路的KF1或KF2、门都会停止运动。延时环节的作用是当按动发射机按钮后,保证KS连续输出信号,数分钟后自动切断输出,从而保证电动装置在工作完成后自动断电(延时电路见图5),